下一代混合防阀技术是APV和Waukesha Cherry-Burrell工艺技术持续发展的结果。用于A级乳制品中不同流体的可靠分离和连续处理,D4PMO系列有助于满足当今客户对生产灵活性、高生产率、快速投资回报(ROI)的需求,并在流体牛奶、奶酪、奶油、乳清、乳清等各种应用中提高产品质量。和酸奶行业。亚博 下载
高价值,低生命周期成本:
- 最新一代连续工艺PMO阀有助于最大限度地延长工厂正常运行时间,并允许在清洁和乳制品生产计划方面具有灵活性
- “All In”标准特性提供了特殊的价值,并帮助增加ROI,使其与客户预算保持一致
- 减少库存成本,在多个尺寸范围内使用相同的密封套件,例如1.5“-3.0”尺寸的一个套件
- 将CIP损失降至最低可提高成本节约
- 低空气消耗和空气供应要求
- 长壳体端口便于歧管的构建
- 集成轴封冲洗减少了外部管道的需要
- 混合通径和传统中心线尺寸可适用于复杂或现有安装,且管道返工最少
可靠的性能:
- 创新的控制单元设计,完全集成位置和座位升降机检测,无需外部传感器
- 完全平衡的设计有助于防止液压堵塞,承受压力峰值,并实现灵活的流动方向而无砰击
- 轻的整体重量有助于在不使用起重工具的情况下进行搬运
- 薄型不锈钢致动器完全封闭,防止流体进入
- 拆卸和维修不需要压缩空气
清洁性:
- 设计符合PMO合规性的最新3-A卫生标准85-02
- 证明在不完全驱动阀门的情况下清洁产品接触面的能力
- 集成的流动通道在阀座提升运动期间清洗上部平衡器与产品接触的部分,因此不需要笨重的适配器或外部管道
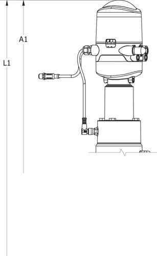
| 维英寸 | A. | A1 | B | ø哒 | ø迪 | F | H | L | L1 |
|---|---|---|---|---|---|---|---|---|---|
| 1.5 | 25.6 | 28.1 | 4.7 | 1.5 | 1.4 | 4.9 | 2.5 | 32.7 | 35.2 |
| 2 | 25.8 | 28.3 | 4.9 | 2 | 1.9 | 4.9 | 3 | 33.6 | 36.1 |
| 2.5 | 25.9 | 28.4 | 5.2 | 2.5 | 2.4 | 4.9 | 3.4 | 34.5 | 37 |
| 3 | 26.2 | 28.7 | 5.4 | 3 | 2.4 | 4.9 | 3.9 | 35.4 | 37.9 |
| 4 | 30.8 | 33.3 | 6.1 | 4 | 3.8 | 5.6 | 4.9 | 41.4 | 43.9 |
安装和拆卸阀套所需的最小间隙
| 维英寸 | P(从阀门上方的中心线) | Q(从阀门下面的中心线) |
|---|---|---|
| 1.5 | 34.3 | 7.8 |
| 2 | 34.6 | 8.5 |
| 2.5 | 35.0 | 9.2 |
| 3 | 35.4 | 9.9 |
| 4 | 39.0 | 11.9 |
注意:对于每个通径为1.5" - 3.0"的阀门,为0.5",对于通径为4"的阀门,为0.62",在"F"上添加以下近似尺寸。






